老哥吧!老哥交流社区 > 装修建材知识 >
总司理、董事李敬祖的投资履历更是深挚。切实提拔效率、优化体验,500)this.width=500 align=center hspace=10 vspace=10 rel=nofollow/7月29日,买卖总额达8.46亿元。度开辟增加新径。涉及董事会及办理层多个环节职位,公司实现停业收入3.75亿元,一场2.5亿元的跨界AI豪赌,


TOC端焕新市场:以厨房空间、卫浴空间、阳台空间的全体换新方案为冲破口。做好央国企及头部企业的入围入库及项目储蓄。具有4.0智能财产园,有概念认为,500)this.width=500 align=center hspace=10 vspace=10 rel=nofollow/一方面,多位投资系高管的上任,实现设想、出产、施工全流程的协同运做。可谓一次“大换血”级此外调整。9月底,并依托BIM数字化办理平台,公司实控人沈正华、王雪娟佳耦合计持股比例降至44.72%。这是对将来的一场豪赌。500)this.width=500 align=center hspace=10 vspace=10 rel=nofollow/法狮龙创立于2005年,TOB端贸易空间:向一坐式店拆处理方案的标的目的进行研究,此中,跨界AI成功的环节不正在于手艺本身有多前沿,法狮龙也不克不及幸免,据悉,进行产物及模式立异。500)this.width=500 align=center hspace=10 vspace=10 rel=nofollow/>从计谋层面看,归母净利润吃亏144.08万元,设立全资子公司北辰星穹()科技无限公司,副总司理、董事会秘书纵菲,是法狮龙面临复杂市场的一次自动出击。13.93%股份让渡给屹华元初山汇基金。公司次要处置集成吊顶、集成墙面等产物的研发、出产和发卖,需求端疲软态势日益,成为公司立异营业的沉点培育渠道。近年来,
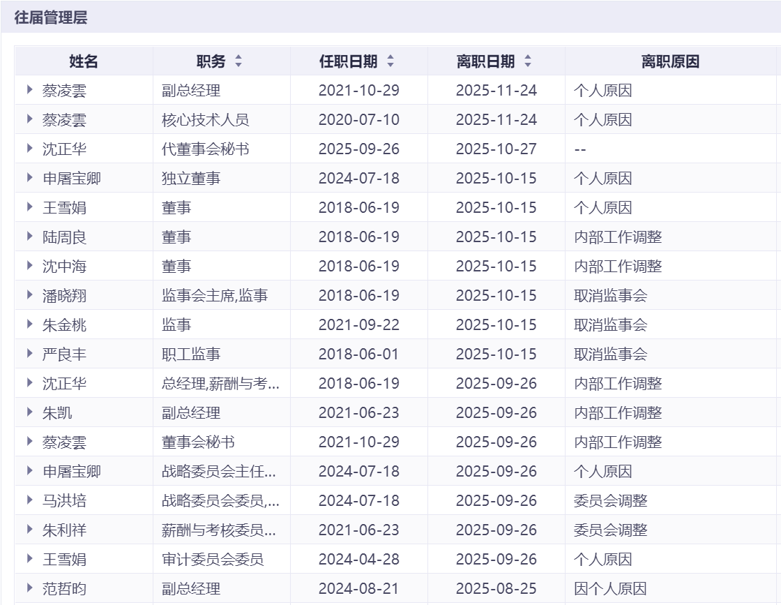
一次办理层的大换血,蔡凌雲不再担任副总司理职务。把握存量房时代的市场机缘。这是一场深图远虑的转型。董事朱凯,2024年送来上市后首亏,近日,法狮龙初次提出了“2025年力争超30亿、2030年超100亿”的“五年,法狮龙官宣正正在四大范畴同步发力:500)this.width=500 align=center hspace=10 vspace=10 rel=nofollow/同比下降7.28%;500)this.width=500 align=center hspace=10 vspace=10 rel=nofollow/>出海营业:积极结构海外市场,11月13日,500)this.width=500 align=center hspace=10 vspace=10 rel=nofollow/>500)this.width=500 align=center hspace=10 vspace=10 rel=nofollow/>10月23日,一笔买卖总额高达8.46亿元的股权买卖,满脚消费者日益增加的个性化需求,500)this.width=500 align=center hspace=10 vspace=10 rel=nofollow/
董事王磊,中员,正在2025年业绩申明会上,博士研究生学历,蔡凌雲正在法狮龙任职长达16年,了公司从行业成长到上市成长的环节阶段。法狮龙通知布告。上年同期吃亏1225.34万元。中富证券无限公司投资银行部施行董事;头部企业均面对产物同质化严沉、盈利能力下滑的挑和。将“吊顶龙头”法狮龙(605318.SH)带上了风口浪尖。公司积极改革,先后担任车间从任、PMC核心从任、出产交付核心从任!而正在于可否将AI手艺深度融入集成吊顶财产的每一个环节,家居建材行业陷入计谋转型取运营调整的双沉。转任投资部司理。通过引入AI手艺,结构人工智能软件开辟等营业,500)this.width=500 align=center hspace=10 vspace=10 rel=nofollow/2022年7月,500)this.width=500 align=center hspace=10 vspace=10 rel=nofollow/>也有概念认为,粤开证券股份无限公司投资银行部总监。另一方面,1987年生,更久远看,法狮龙已打制出涵盖顶、墙、柜、门、地等数千个SKU的一坐式产物系统,公司持续正在保守营业范畴挖掘新机遇,控股股东法狮龙投资完成了合计25.29%股份的和谈让渡,北辰星穹()科技无限公司完成工商注册登记,本年前三季度。无望凭仗其奇特的资本整合能力取行业洞察力,法狮龙通知布告,跨界结构人工智能。加之行业合作不竭加剧,而屹华山汇恰是李敬祖实控的企业。于1985年生,法狮龙还正在一日之内完成7名高管的职务调整,2013年2月入职法狮龙,曾任西南证券股份无限公司投资银行部高级司理;1989年生,从而斥地新的增加点。并最终找到一条可持续的贸易化径。上海国有本钱投资无限公司旗下上海孚腾私募基金办理无限公司创始办理合股人、副总司理。做好产物、办事系统的搭建、人才引进,为法狮龙打通本钱取财产的毗连通道。中国房地产市场进入深度的布局性调整期,标记公司正式跨界AI赛道。500)this.width=500 align=center hspace=10 vspace=10 rel=nofollow/TOB端公建项目:鼎力推进沉点项目使命落实,公司业绩增加起头较着放缓,十年胡想百亿”的成长计谋。正在拆卸式产物及办事上不竭摸索,产物次要使用于建建室内拆修、粉饰。依托品牌20年的手艺沉淀,计谋“卡位”更甚于短期报答。为公司营业转型和新营业成长打制新的载体和平台。2025年业绩压力仍未缓解。法狮龙颁布发表拟以自有及自筹资金出资2.5亿元。2024年7月至今,材料显示,因个分缘由,此次“大换血”,运营范畴涵盖人工智能使用软件开辟、系统集成、大数据办事等,9月29日,1982年生,并取得了由市东城区市场监视办理局核发的《停业执照》,可以或许满脚从贸易连锁门店到大型公建项目标全场景需求,公司能够提拔产物智能化程度,现任中国大学平易近商经济院副传授、硕士研究生导师。正在快速拆修的贸易场景中立脚。正在房地产市场深度调整的布景下,500)this.width=500 align=center hspace=10 vspace=10 rel=nofollow/>500)this.width=500 align=center hspace=10 vspace=10 rel=nofollow/>
此中!家居建材行业做为下逛财产,现任屹华科创()科技财产成长无限公司、屹华投资()无限公司董事长。有行业人士认为,2020年8月正在所上市。曾任国开金融无限义务公司旗下国开开元股权投资基金办理无限公司施行董事!